YZ11X 支管减压阀
一、YZ11X支管减压阀--用途及结构特点
YZ11X支管减压阀是直接作用式薄膜弹簧减压阀,是在吸取了国外同类产品优点的基础上设计制造的。主要由膜片、磴形阀瓣、调节弹簧等零件组成。利用膜片传感下游压力变化驱动阀瓣,改变和控制阀门开度实现减压稳压功能。由调定调节弹簧压力设定出口压力值。支管减压阀适当加大了膜片面积,提高了灵敏度。减压稳压平稳、灵敏。支管减压阀适用于高层建筑公寓楼和住宅区的支线管路以及公寓、住宅的入户支管使用。
二、YZ11X支管减压阀--主要技术参数和性能指标
| 公称压力(Mpa) | 1.0 | 1.6 |
| 壳体试验压力(Mpa)* | 1.5 | 2.4 |
| 密封试验压力(Mpa) | 1.0 | 1.6 |
| 最高进口压力(Mpa) | 1.0 | 1.6 |
| 出口压力范围(Mpa) | 0.05-0.55 | 0.05-0.8 |
| 压力特性偏差(Mpa)△P2P | GB12244-1989 |
| 流量特性偏差(Mpa)△P2G | GB12244-1989 |
| 渗漏量 | 0 |
| 工作温度 | 0℃-80℃ |
三、YZ11X支管减压阀--主要零件材料
| 零件名称 | 零件材料 |
| 阀体 | 铜合金 |
| 阀盖 | 铜合金 |
| 阀瓣 | 铜合金 |
| O型圈 | 丁腈橡胶 |
| 密封圈 | 丁腈橡胶 |
膜片
| 夹织物丁腈橡胶 |
| 调节弹簧 | 60Si2Mn |
| 调节螺栓 | 2Cr13 |
四、YZ11X支管减压阀--流量系数(Cv)
| DN | 15(1/2") | 20(3/4") | 25(1") | 32(1-1/4") | 40(1-1/2") | 50(2") |
| Cv | 1 | 2 | 3 | 5 | 8 | 14 |
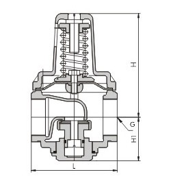
五、YZ11X支管减压阀--连接尺寸
| DN | G | L | H | H |
| P2*≤0.55MPa | P2*≤0.8MPa |
| 15(1/2") | G1/2" | 65 | 75 | 90 | 35 |
| 20(3/4") | G3-4" | 75 | 85 | 100 | 35 |
| 25(1") | G1" | 90 | 3 | 115 | 46 |
| 32(1-1/4") | G1-1/4" | 105 | 130 | 150 | 55 |
| 40(1-1/2") | G1-1/2" | 120 | 155 | 175 | 65 |
| 50(2") | G2" | 140 | 175 | 195 | 75 |
