Q981F-16P/R 电动卡箍浮动球直通流道软密封不锈钢(304、316)球阀
用途与性能规范Application and Performance Criterion
1.球阀广泛适用于食品、环保、冶金、石油化工等管路系统中。具有调节管路流量及截流等功能。
2.该阀根据阀体、密封材料的不同可适用于工作温度- 30一380℃的蒸汽、石油或一般腐蚀性流体介质管路上.作为控制介质的启闭机构。
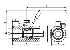
主要连接及外形尺寸
Main connection and external dimensions(mm)
一片式球阀 | 管螺纹 | A | B | C | D | 1/4″ | 60 | 110 | 56 | 8 | 3/8″ | 60 | 110 | 58 | 10 | 1/2″ | 60 | 110 | 58 | 11 | 3/4″ | 67.3 | 110 | 62 | 13.5 | 1″ | 73 | 110 | 68 | 17.5 | 11/4″ | 90 | 150 | 75 | 23 | 11/2″ | 97.5 | 150 | 83 | 25.4 | 2″ | 112 | 180 | 90 | 32.8 |
|
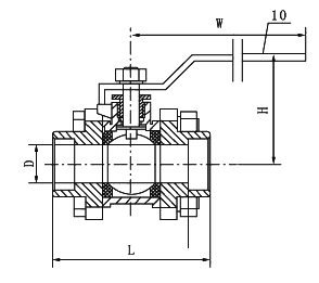
 二片式球阀 | 管螺纹 | D | L | H | W | 1/4″ | 10 | 57 | 50 | 120 | 3/8″ | 12 | 57 | 50 | 120 | 1/2″ | 15 | 63.5 | 52 | 120 | 3/4″ | 20 | 75 | 58 | 130 | 1″ | 25 | 89 | 70 | 154 | 11/4″ | 32 | 99 | 80 | 154 | 11/2″ | 40 | 118 | 88 | 185 | 2″ | 50 | 136 | 97 | 185 | 3″ | 80 | 190 | 150 | 204 |
|
三片式球阀 | 管螺纹 | D | L | H | W | 1/4″ | 10 | 65 | 48 | 120 | 3/8″ | 12 | 65 | 48 | 120 | 1/2″ | 15 | 67 | 54 | 120 | 3/4″ | 20 | 82 | 57 | 130 | 1″ | 25 | 91 | 72 | 154 | 11/4″ | 32 | 108 | 79 | 154 | 11/2″ | 40 | 129 | 81 | 185 | 2″ | 50 | 128 | 97 | 185 | 3″ | 80 | 206 |
|
|
|



主要外形及连接尺寸Q6(11、61、81、21)(F、N、P)-16~64Mani Outline and Connecting Flange Size
通径 Nominal size | 外形连接尺寸 Connecting Flange Size | 执行器型号 Actuator Model |
|
|
|
|
|
|
|
|
|
DN | in | d | L | G | L1 | L2 | D | L3 | C | L0 | H |
|
15 | 1/2 | 15 | 73 | 1/2″ | 81 | 85 | 34 | 175 | 22 | 140/178 | 62/75 | GTD52/GTE65 |
20 | 3/4 | 20 | 85 | 3/4″ | 92 | 100 | 50.5 | 190 | 28 | 140/178 | 62/75 | GTD52/GTE65 |
25 | 1 | 25 | 91 | 1″ | 103 | 115 | 50.5 | 200 | 33 | 140/214 | 62/91 | GTD52/GTE80 |
32 | 1 1/4 | 32 | 112 | 1 1/4″ | 123 | 130 | 50.5 | 230 | 40 | 164/214 | 75/91 | GTD65/GTE80 |
40 | 1 1/2 | 40 | 120 | 1 1/2″ | 136 | 150 | 50.5 |
|
| 164/246 | 75/101 | GTD65/GTE90 |
50 | 2 | 50 | 147 | 2″ | 155 | 180 | 64 |
|
| 190/295 | 91/112 | GTD80/GTE100 |
65 | 2 1/2 | 65 | 168 | 2 1/2″ | 180 | 230 | 77.5 |
|
| 210/340 | 101/127 | GTD90/GTE115 |
80 | 3 | 80 | 204 | 3″ | 220 | 260 | 91 |
|
| 247/398 | 112/139 | GTD100/GTE125 |